单列圆柱滚子轴承
单列圆柱滚子轴承大部分属于分离型轴承,安装与拆卸非常方便。单列圆柱滚子轴承通常适用于刚性支承的、又支承短轴、受热伸长而引起轴向位移的轴和安装拆卸需要分离型轴承之机器附件。此类轴承允许内圈轴线与外圈轴线的角度误差(倾斜度)很小,只有2’~4’。因此,对轴和轴承座的加工精度要求相对较高,否则,容易在滚道接触部位出现不均匀载荷或应力集中。但对滚子或滚道接触母线进行修正后,可以减少应力集中情况的发生。本实用新型具有组装方便、承载负荷大,极限转速高、可靠性强、使用寿命长等优点。



结构及特性
单列圆柱滚子轴承根据套圈挡边结构的不同来划分:
N 型轴承外圈无挡边。内圈有双挡边
NU 型轴承内圈无挡边,而外圈有双挡边
N 型或 NU 型轴承均能在一定范围内允许轴相对于轴承箱做双向轴向位移,因此,适于作非定位轴承。


NJ 型轴承外圈有双挡边而内圈为单挡边
NF 型则为内圈双挡边而外圈单挡边结构
NJ 和 NF 型的特点是可允许轴在一个方向产生轴向位移,可承受一定单向轴向负荷。


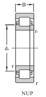
NUP 型轴承是外圈双挡边、内圈单挡边并带平挡圈的轴承
NFP 型轴承是内圈双挡边、外圈单挡边并带平挡圈的轴承
根据不同的使用场合,NU 型轴承与NJ型轴承还可与HJ斜挡圈组合使用。NUP该轴承可用作双向定位轴承。



后置代号说明
(1)内部结构代号
|
代 号
|
含 义
|
|
A、E
|
1)表示内部结构改变
2)加强型1)
|
注:1)加强型,即内部结构设计改进,增大轴承承载能力。
(2)密封、防尘与外部形状变化代号
|
代 号
|
含 义
|
|
K
|
圆锥孔内径 锥度1:12(外球面球轴承除外)
|
|
N
|
轴承外圈有止动槽
|
|
NR
|
轴承外圈有止动槽,并带止动环
|
|
-RS
|
轴承一面带骨架式橡胶密封圈(接触式)
|
|
-2RS
|
轴承两面带骨架式橡胶密封圈(接触式)
|
|
-LS
|
轴承一面带骨架式橡胶密封圈(接触式,套圈不开槽)
|
|
-2LS
|
轴承两面带骨架式橡胶密封圈(接触式,套圈不开槽)
|
|
WB
|
宽内圈轴承(双面宽):WB1单面宽
|
|
WC
|
宽外圈轴承
|
|
SC
|
带外罩向心轴承
|
(3)轴承零件材料
|
代 号
|
含 义
|
|
/HC
|
套圈和滚动体或仅是套圈由渗碳钢(/HC-20Cr2Ni4A;/HC1-20Cr2Mn2MoA;/HC2-15Mn)制造
|
|
F
|
钢、球墨铸铁或粉末冶金实体保持架(F1-碳钢;F2-石墨钢;F3-球墨铸铁;F4-粉末冶金)
|
|
Q
|
青铜实体保持架(Q1-铝铁锰青铜;Q2-硅铁锌青铜;Q3-硅镍青铜;Q4-铝青铜)
|
|
M
|
黄铜实体保持架
|
|
L
|
轻合金实体保持架(L1-LY11CZ;L2-LY12CZ)
|
|
TN
|
工程塑料模注保持架(TN1-尼龙;TN2-聚砜;TN3-聚酰亚胺;TN4-聚碳酸酯;TN5-聚甲醛)
|
|
V
|
满装滚动体(无保持架)
|
(4)公差等级及游隙代号
|
代 号
|
含 义
|
|
/P0
|
公差等级符合标准规定的0级,在代号中省略不表示
|
|
/P6
|
公差等级符合标准规定的6级
|
|
/P5
|
公差等级符合标准规定的5级
|
|
/P4
|
公差等级符合标准规定的4级
|
|
/P2
|
公差等级符合标准规定的2级
|
|
/C0
|
游隙符合标准规定的0组,在代号中省略不表示
|
|
/C1
|
游隙符合标准规定的1组
|
|
/C2
|
游隙符合标准规定的2组
|
|
/C3
|
游隙符合标准规定的3组
|
|
/C4
|
游隙符合标准规定的4组
|
|
/C5
|
游隙符合标准规定的5组
|
|
/C9
|
轴承的游隙不同于现标准
|
当公差等级代号与游隙代号需同时表示时,可进行简化,取公差等级代号加上游隙组号(0组不表示)组合表示。例:/P63表示轴承公差等级P6级,径向游隙3组。
/P52表示轴承公差等级P5级,径向游隙2组。
(5)尺寸系列
|
代 号
|
含 义
|
|
X1
|
轴承外径尺寸非标准
|
|
X2
|
轴承宽度(高度)非标准
|
|
X3
|
轴承外径、宽(高)度非标准(标准内径)
|
(6)轴承配置代号
|
代 号
|
含 义
|
|
/D
|
两套轴承
|
|
/DB
|
成对背对背安装
|
|
G
|
万能组配
|
(7)其它特性代号
|
代 号
|
含 义
|
|
/Z
|
轴承振动加速度级极值组别。附加数字表示极值不同,分Z1组;Z2组;Z3组
|
|
/V
|
轴承振动速度级极值组别。附加数字表示极值不同,分V1组;V2组;V3组
|
|
/S0
|
轴承套圈经过高温回火处理,工作温度可达150°C
|
|
/S1
|
轴承套圈经过高温回火处理,工作温度可达200°C
|
|
/S2
|
轴承套圈经过高温回火处理,工作温度可达250°C
|
|
/S3
|
轴承套圈经过高温回火处理,工作温度可达300°C
|
|
/S4
|
轴承套圈经过高温回火处理,工作温度可达350°C
|
|
/W33
|
轴承外圈上有润滑油槽和三个润滑油孔
|
|
/Y
|
Y和另一个字母(如YA、YB)组合或再加数字组合用来识别无法用现有后置代号表达的非成系列的改变
|
|
/YA
|
结构改变(综合表达);
|
|
/YB
|
技术条件改变(综合表达)
|
注:凡轴承代号中有/Y和另一个字母或加数字的后置代号,应查阅图纸或补充技术条件或向本公司产品设计部门咨询以便了解其改变的具体内容。
应用
主要用于大型电机、机床主轴、发动机前后支承轴、火车客车车箱轴支承、柴油机曲轴、汽车拖拉机变速箱等。



